Quelles sont les applications du séchage par atomisation dans l'industrie pharmaceutique ?
7 novembre 2024|
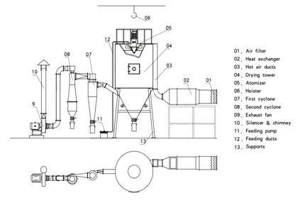
Vue : 2014Séchage par atomisation dans l'industrie pharmaceutiqueLa pulvérisation est une technique polyvalente et largement utilisée qui a révolutionné la formulation et l'administration des médicaments. Ce procédé consiste à transformer des solutions, des suspensions ou des émulsions en poudres sèches en une seule étape, par atomisation de la matière première dans un milieu gazeux chaud. Voici quelques applications et avantages clés de la pulvérisation dans l'industrie pharmaceutique :
1. Dispersions solides amorphes
L'une des applications les plus importantes du séchage par atomisation dans l'industrie pharmaceutique est la production de dispersions solides amorphes (DSA). Ces dispersions permettent d'améliorer la solubilité et la biodisponibilité des médicaments peu solubles dans l'eau. Le séchage par atomisation d'un médicament avec un polymère permet de créer une dispersion amorphe stable, ce qui améliore la vitesse de dissolution et, par conséquent, la biodisponibilité du principe actif.

2. Masquage du goût
Le séchage par atomisation est également utilisé pour masquer le goût, notamment pour les médicaments inhalés comme l'insuline en poudre et les formulations à libération prolongée. Cette technique permet aux fabricants d'encapsuler le principe actif et les excipients biodégradables, masquant ainsi le goût sans compromettre la libération du médicament.
3. Formulations à libération modifiée
La pulvérisation permet de créer des formulations à libération prolongée ou modifiée par encapsulation du principe actif. Cette technique peut s'avérer avantageuse pour diverses classes de médicaments, en réduisant les doses nécessaires et en minimisant les effets secondaires grâce à une meilleure lissage des pics de concentration.
4. Fabrication aseptique
Le séchage par atomisation présente des avantages par rapport à d'autres techniques de fabrication aseptique, comme la lyophilisation. Il permet un meilleur contrôle du procédé et de la forme finale du produit, ce qui est particulièrement utile pour les médicaments nécessitant une fabrication aseptique. Le principe actif est combiné à des excipients de même granulométrie, créant ainsi des particules stériles sans risque de contamination.
5. Production de poudres fines
Le séchage par atomisation permet de produire des poudres fines, essentielles pour les médicaments nécessitant un dosage précis et une grande uniformité. Ces poudres peuvent être utilisées dans divers systèmes d'administration de médicaments, notamment les médicaments inhalables et les microcapsules.
6. Amélioration de la biodisponibilité
De nombreux composés thérapeutiques sont stables sous forme cristalline, mais présentent une faible solubilité aqueuse et une vitesse de dissolution lente, ce qui réduit leur biodisponibilité. La pulvérisation-séchage permet d'obtenir des dispersions amorphes stables qui améliorent la vitesse de dissolution et, par conséquent, la biodisponibilité.

7. Encapsulation et protection
La pulvérisation est utilisée pour encapsuler les médicaments, les protégeant ainsi des facteurs environnementaux et améliorant leur stabilité. Ce procédé est particulièrement utile pour les principes actifs pharmaceutiques (API) thermosensibles et difficiles à cristalliser.
8. Médicaments inhalables
La production de médicaments inhalables, comme l'insuline inhalée, est désormais possible grâce à la pulvérisation. Cette technique permet de créer des poudres inhalables, offrant ainsi une méthode d'administration non invasive.
9. Ingénierie des particules
Le séchage par pulvérisation est utilisé comme plateforme d'ingénierie des particules, permettant la manipulation et le contrôle des propriétés des particules telles que la distribution granulométrique, la forme, la densité, la fluidité, la teneur en humidité, la cristallinité et la dispersibilité.
10. Efficacité en termes de coûts et de temps
Comparée à d'autres techniques de séchage, la pulvérisation permet de réaliser d'importantes économies de temps et de coûts, notamment pour le traitement des grosses biomolécules. C'est une technique économique, adaptable et reproductible pour la formulation de médicaments à petites molécules peu solubles par la préparation de dispersions solides amorphes.
En conclusion,le séchage par pulvérisation dans l'industrie pharmaceutiqueLe séchage par atomisation est devenu une technique incontournable, offrant de nombreux avantages tels qu'une biodisponibilité améliorée, le masquage du goût, la libération contrôlée, la fabrication aseptique et l'ingénierie des particules. Avec l'évolution constante du secteur, le séchage par atomisation jouera probablement un rôle crucial dans le développement de nouveaux systèmes et formulations d'administration de médicaments.







